Crosby® 100 級鉤鏈部件
• 合金鋼鍛件 — 淬火和回火。 • 逐個在 2.5 倍工作負荷限制條件下進行驗證測試并經過認證。 • 適用于 100 級和 80 級鉤鏈。 • 彈簧加載的鉤鏈鎖定系統使鉤鏈在松散狀態下就位。 • S-1311N 鉤鏈縮短器的使用將使鉤鏈吊索發揮 100% 的工作能力。 • 額定疲勞在 1.5 倍工作負荷限制時為 20000 個周期。 • “尋找鉑金色 — Crosby 100 級合金產品。”

S-1311N 100 級鉤鏈縮短器
|
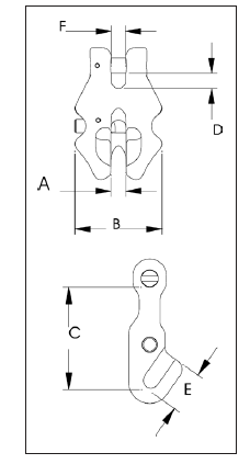
鉤鏈尺寸 |
|
|
|
尺寸(mm) |
|
(英寸) |
(mm) |
S-1.311N
貨號 |
工作載荷(t) |
重量每個(公斤) |
A |
B |
C |
D |
E |
F |
|
- |
6 |
1017860 |
1.4 |
.34 |
7.61 |
44.7 |
46.5 |
7.37 |
19.3 |
7.37 |
|
1/4 |
7 |
1017869 |
2 |
.45 |
8.64 |
51.8 |
55.1 |
8.64 |
22.4 |
8.38 |
|
5/16 |
8 |
1017878 |
2.6 |
.45 |
10.2 |
59.9 |
64.3 |
9.91 |
25.7 |
.9.65 |
|
3/8 |
10 |
1017897 |
4 |
.68 |
12.2 |
72.1 |
78.0 |
12.2 |
31.2 |
11.7 |
|
1/2 |
13 |
1017906 |
6.8 |
1.47 |
15.7 |
90.4 |
95.8 |
15.5 |
39.9 |
15.0 |
|
5/8 |
16 |
1017915 |
10.3 |
2.54 |
18.5 |
108 |
118 |
18.5 |
48.8 |
17.8 | * 最低極限負荷為 4 倍的工作負荷限制。
產品詳情: 請致電 13931305891,email:info@skiplifting.com
|